Резервуарное оборудование
Клапан обратный ЗКО
|
ТД "НефтеПромСнаб" предлагает Клапан обратный: ЗКО-50, ЗКО-80, ЗКО-100, ЗКО-150, ЗКО-200. Клапаны обратные ЗКО предназначены для отсекания обратного потока среды при прекращении подачи нефтепродуктов в технологических трубопроводах. Клапаны обратные устанавливаются на наливных устройствах нефтебаз и АЗС с рабочим давлением от 1МПа (10кг/см2) до 2,5 МПа (25 кг/см2). |
ТУ 3689-018-10524112-2002.
|
По устойчивости к воздействию климатических факторов внешней среды клапаны обратные изготавливаются в исполнении У и УХЛ, категория размещения 1 по ГОСТу 15150-69.
Пример обозначения при заказе: ЗКО - 150 УХЛ1 ТУ 3689-018-10524112-2002, где: 150 - условный проход, УХЛ1 - климатическое исполнение.
Техническая информация
|
|
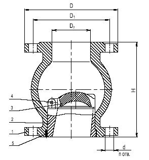
Общий вид клапана обратного ЗКО: 1-корпус;2-седло;3-крышка;4-ось;5-винт |
|



